3D Printing

Multi Wire FSAM Patent Targets Bigger Metal Builds

Multi Wire FSAM Patent Targets Bigger Metal Builds

Key Takeaways

  • A new patent has been filed for a multi-wire friction stir additive manufacturing (FSAM) technology
  • The technology aims to enable larger metal builds by feeding multiple metal wires through a single rotating tool
  • This innovation has the potential to increase the efficiency and scalability of metal 3D printing

Introduction to FSAM Technology

Friction stir additive manufacturing (FSAM) is a 3D printing technique that uses a rotating tool to deposit metal wire onto a substrate, creating a solid bond between the layers. This technology has gained significant attention in recent years due to its ability to produce high-quality metal parts with minimal material waste.

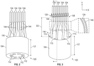
The New Multi-Wire FSAM Patent

The newly filed patent proposes a novel approach to FSAM, where multiple metal wires are fed through a single rotating tool. This design enables the simultaneous deposition of multiple wires, increasing the build speed and allowing for the creation of larger, more complex metal parts. The tool is capable of rotating at speeds of up to 10,000 rpm, generating a significant amount of heat and friction, which is necessary for the FSAM process.

Comparison of FSAM Technologies

Technology Build Speed Material Capacity Complexity
Single-Wire FSAM 1-5 kg/h 1-5 mm diameter Low-Medium
Multi-Wire FSAM 5-10 kg/h 5-10 mm diameter Medium-High
Traditional Casting 10-50 kg/h 10-50 mm diameter High

Benefits of Multi-Wire FSAM

The multi-wire FSAM technology offers several benefits, including:

  • Increased build speed: By depositing multiple wires simultaneously, the build speed is significantly increased, making it possible to produce larger parts in a shorter amount of time.
  • Improved material capacity: The ability to feed multiple wires through a single tool enables the use of thicker wires, increasing the material capacity and allowing for the creation of more complex parts.
  • Enhanced scalability: The multi-wire FSAM technology has the potential to increase the scalability of metal 3D printing, making it possible to produce larger parts and meet the growing demand for additive manufactured metal components.

Bottom Line

The new multi-wire FSAM patent has the potential to revolutionize the metal 3D printing industry by enabling the creation of larger, more complex parts with increased efficiency and scalability. With its ability to deposit multiple wires simultaneously, this technology is expected to increase build speeds, improve material capacity, and enhance the overall capabilities of FSAM. As the demand for additive manufactured metal components continues to grow, innovations like the multi-wire FSAM technology will play a crucial role in shaping the future of the industry.

Related Articles